Les plis sont déterminants dans la finition d'une maquette en papier, on se rend compte avec le temps qu'il faut "marquer" TOUS les plis avant de plier vraiment.
La technique la plus courante consiste à marquer les plis avec le dos de la lame de cutter. Mais on arrive très vite à couper la feuille au lieu de juste l'écraser, tout est dans le dosage
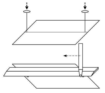
Une solution plus élégante existe : un stylo à bille vide. Il suffit de suivre la ligne de pliage en appuyant assez fort pour écraser le papier et faciliter le pli. On s'aide bien entendu d'une règle pour suivre le pli et faire en sorte qu'il soit bien régulier.
Un outil que j'ai découvert récemment est un outil de sculpture (dans les magasins de loisirs créatifs) qui comporte une boule à chaque extrémité :













